Прислали к нам практиканта, будущего инженера-электроника. Первый день поводил его по предприятию, показал рабочее оборудование, рассказал немного про управление оборудованием. На второй день дал читать документацию. Смотрю, скучает паренек… На глаза попался мультивибратор, который я собирал по работе. Схема простая, на двух транзисторах BC547сам мультивибратор, нагрузка одного плеча один фонарик светодиодного светофора. Времязадающие цепочки 100 кОм и 3,3 мкФ. Питание 24В. Схема дополнена третьим транзистором, который отключает мигание и оставляет фонарик включенным. Все собрано на скорую руку для пробы, навесным монтажом. Предложил пареньку разобраться в схеме. Разбирался он долго, всего лишь третий курс университета. Пришлось распечатать схему типичного мультивибратора, дело пошло веселее.
 
Предложил парнишке изменить схему, чтобы перемигивались два фонарика светофора. По сути, достаточно было выпаять резистор со второго плеча и впаять туда фонарик, но мы же не ищем легких путей. Паял парень долго, все разобрал и заново все собрал. Все заработало с первого раза!
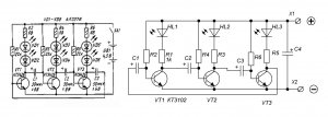
Мимо проходил коллега, заметил, что у светофора не горит третий фонарик. Включили ему третий фонарик на постоянное горение, просто подав на него питание. Но коллегу такое простое решение не устроило, говорит, вот если бы были бегущие огни, это было бы здорово. И как бы ничего сложного. Чтобы не тратить время на рисование, в поисковике была найдена простая схема бегущих огней на трех транзисторах.
Немного времени на корректировку, резисторы поставили по 470кОм, электролиты оставили, как и в мультивибраторе 3,3 мкФ, транзисторы те же BC547. Схему практикант собрал в соответствии с нашими комплектующими и питающим напряжением.
Первое включение - горят одновременно все фонарики 
  И меня это радует 
  Как говорится: если все заработало с первого раза, что-то здесь не так!
Проверка схемы показала правильность сборки. Может резисторы слишком большого номинала? Заменили на 100кОм - все равно горят все фонарики одновременно. Заменили конденсаторы на 47 мкФ, толку нет.
Мне показалось, что фонарики светят недостаточно ярко, закрались смутные сомнения. Стали осциллографом на один фонарик, а там генерация 8 Мгц… Вот этого я признаюсь совсем не ожидал.
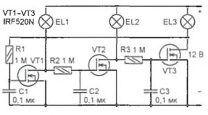
Родная схема однозначно рабочая, но почему у нас не заработало? У родной схемы питание 4,5В, у нас 24В, остальное несущественно. Решил попробовать снизить напряжение питания. В районе 12В один фонарик медленно погас, бегущие огни заработали.
Если дать схеме поработать, то при поднятии напряжения до 24В схема продолжает стабильно работать. Если после выхода на режим сразу подать 24В, то в большинстве случаев опять возникает высокочастотная генерация, которая напрямую зависит от уровня питающего напряжения.
Победить высокочастотную генерацию удается только снижением напряжения питания, ничто другое не помогает. Почему так происходит мне не совсем понятно, может кто более умный объяснит что происходит?









