Попросил меня дальний родственник, работающий бригадиром электриков в небольшой фирмочке, помочь ввести режим мигающей световой индикации (или прерывистого звукового сигнала) при включении чего-то там в их технике. Недолго думая, я вытащил и предложил ему примерно кило...полтора разного электронного хлама. Нет, сказал Леша, наш ГИ - человек старой закалки, релейную автоматику он, конечно, понимает, и, к тому же, надо, чтобы было сделано из их деталей и их пацаны могли, чуть что, сами отремонтировать. Слепить на макетке схемку из полдесятка деталей недолго, тем более что пива уже оставалось немного.

При подаче питания через НЗ контакты реле происходит зарядка конденсатора до напряжения срабатывания реле, скорость зарядки задается верхним по схеме подстроечником, и, ес-но, емкостью конденсатора. Контактная группа переключается, напряжение подается на нагрузку, а конденсатор не спеша разряжается через обмотку реле и нижний по схеме подстроечник до напряжения отпускания. Все, цикл повторяется. Конденсатор 1000,0*16 В, резисторы около 1 кОм.
Назавтра Леша доложил, что все нормально, но надо сделать на вот этих вот реле, которых у них много. Это древние (не спорю, надежные) РСМ-3 с парой размыкающихся контактов.

Ну, что же, дорабатываем схему, получилась инверсная логика работы, но это безразлично. Динистор в цепи обмотки толку не дал, гистерезис и так солидный. …

Следующая засада заключалась в том, что контакты управления в их аппаратуре, подающие сигнал на схему, оказались слабенькими, пришлось опять дорабатывать несчастную схему. При рисовании, правда, как-то потерялся диод между плюсом и верхним подстроечником… Пардон...

Получилось так – при подаче питания лампа просто светит, а приходит сигнал управления, замыкается SA1 – начинает мигать. На удивление, это их устроило.
Ну и все-таки в конце концов они запросили вариант с коммутацией не этой игрушечной нагрузки, а что-то посерьезней. Тут уже и вольты не те, и токи…

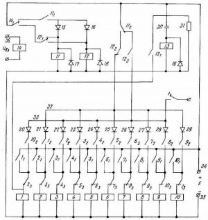
Реле РПУ-0 держит до 4 А на одну группу контактов. (катушка здесь на 110 В постоянки), РП21 - 6 А. Что, еще мощнее надо? Пожалуйста… Сколько ПМЕ 2-го габарита выдержит? Схема внизу. Но это так, шутка юмора, если захотят, пусть сами собирают.
Все, комментируйте!










