Недавно была на сайте статья с таким названием, опубликовал LEOBRYNN, вот ссылка:
ссылка
В комментариях к ней были высказаны прямо противоположные мнения:
Галицкая Ольга Юрьевна - Бред полный! ... но дым от проводов однозначно пойдет. Удалите и не засоряйте головы людям….
Гость Максим - Данная здесь схема индикатора - отличное решение. У меня радиотехническое образование. Схема грамотная, простая и недорогая по деталям…
Гость Юрий - из всего словесного мусора ничего не стал читать: достаточно посмотреть схему…
R555 - Я скажу так. Схема рабочая, но с натяжкой…
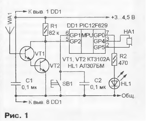
А ведь в той схеме всего полдесятка деталей…
Решил попробовать спаять, схемка то простенькая… Собрал комплектующие, плата – вместо макетки - обрезок какого-то переходника.
Плата порядком окисленная, зачищаю, дальше флюс, лужение, ставлю первые детали.
Продолжаю монтаж, после установки каждого транзистора проверка – пальцем подаю питание на базу.
Катушка-антенна, посчитал на рисунке в статье витки, намотал.
Заканчиваю монтаж, включаю, проверяю – работает! Не ожидал, вернее, сомневался…
Для уменьшения помех все незадействованные проводники на плате соединил с минусом, условно – «масса». Фазу в розетке определяет без проблем.
Переделываю весь монтаж, собираю компактно, для работы. После этого – опять проверка.
Следующий шаг – пробуем сделать звуковую индикацию.
Но нашему зуммеру падения напряжения на светодиоде в 3 В мало, переделываем схему. Резистор из эмиттерной цепи переставляем в коллекторную. Падение напряжения на нагрузке светодиод+резистор может теперь доходить почти до напряжения питания, кроме того, т.к. убрана ООС по току, увеличился Ку и четкость срабатывания.
Вот оба варианта схемы. Я не критикую старый вариант, он неплохо работал, на фото внизу пример.
По поводу зуммера. Имеющийся (маркировки на нем нет, только надпись «12 В» и +) прекрасно верещал от 12 В, от 9 не заработал. Другой, большой, начинал работать уже от 3 В, выдавал интересные звуковые эффекты.
Но уж очень он большой, только для пробы. Если подвернется зуммер на 3…5 В типа как первый, можно попробовать включить.
Вот что получилось, еще одно испытание. На фотографиях видно – фазный провод определяет на расстоянии 3…5 см, при наличии тока в цепи – больше (не уверен). Конечно, прибором это изделие называть не стоит, но иногда может пригодиться. Итак, схема, описанная в публикации, указанной в начале, вполне работоспособна, имеет резерв для модернизации, а корпус можно сделать и потом (может быть…)
Уже после написания этого текста возникла мысль – заэкранировать изделие фольгой, соединенной с минусом.
Такое впечатление, что стало лучше, но как сравнить, если бы рядом были оба варианта… И теперь стало неудобно снимать фишку с Кроны.
Все, комментируйте!


















